快手近期上线了名为「小愉」的新医疗业务品牌
时间:2021-06-17
作者:牛油果好吃吗
来源:GG趣下
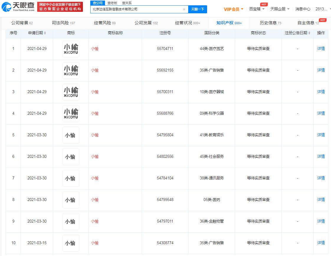
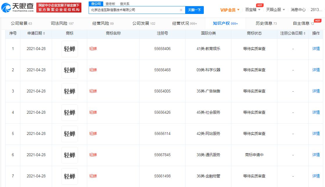
快手于近期确定了自己新的医疗业务品牌,名为「小愉」。「小愉」为综合类医疗项目,不久将会以App的形式面向所有用户。另外,快手还有一个医疗品牌名或叫「轻蝉」,暂时未知其发展的方向。

天眼查App显示,快手关联公司北京达佳互联信息技术有限公司已申请注册多个“小愉”“轻蝉”相关商标,国际分类涉及医疗器械、科学仪器、医药等,当前商标状态多为等待实质审查。

值得一提的是,今年5月,由贾弘毅、银鑫共同持股的北京轻雀科技有限公司曾在广州成立依尔综合门诊部有限公司,该公司注册资本1000万人民币,法定代表人为贾弘毅,经营范围含远程健康管理服务;互联网销售;健康咨询服务(不含诊疗服务);医疗服务等。据报道,该公司的成立,是为了开拓线下医疗市场。


